- 
                    
型號
                    版本
                    描述
                    廠商
                    下載
                 
                
                        - 
                            
                            
英文版
                            T-1 3/4 Standard Red LED Lamps
                            CML [Chica...
                            
                         
                    
                        - 
                            
                            
英文版
                            T-1 3/4 Standard Red LED Lamps
                            CML [Chica...
                            
                         
                    
                        - 
                            
                            
英文版
                            T-1 3/4 Standard Red LED Lamps
                            CML [Chica...
                            
                         
                    
                        - 
                            
                            
英文版
                            T-1 3/4 Clear Lens LED Lamps
                            CML [Chica...
                            
                         
                    
                        - 
                            
                            
英文版
                            T-1 3/4 Diffused LED Lamps
                            CML [Chica...
                            
                         
                    
                        - 
                            
                            
英文版
                            Optoelectronic
                            ETC
                            
                         
                    
                        - 
                            
                            
英文版
                            T-1 3/4 Clear Lens LED Lamps
                            CML [Chica...
                            
                         
                    
                        - 
                            
                            
英文版
                            T-1 3/4 Diffused LED Lamps
                            CML [Chica...
                            
                         
                    
                        - 
                            
                            
英文版
                            T-100 (T-1) Non-Diffused Lens LED Lamps
                            CML [Chica...
                            
                         
                    
                        - 
                            
                            
英文版
                            T-1 3/4 Clear Lens LED Lamps
                            CML [Chica...
                            
                         
                    
                        - 
                            
                            
英文版
                            T-1 3/4 Diffused LED Lamps
                            CML [Chica...
                            
                         
                    
                        - 
                            
                            
英文版
                            T-100 (T-1) Non-Diffused Lens LED Lamps
                            CML [Chica...
                            
                         
                    
                        - 
                            
                            
英文版
                            T-1 3/4 Clear Lens LED Lamps
                            CML [Chica...
                            
                         
                    
                        - 
                            
                            
英文版
                            T-1 3/4 Diffused LED Lamps
                            CML [Chica...
                            
                         
                    
                        - 
                            
                            
英文版
                            T-100 (T-1) Non-Diffused Lens LED Lamps
                            CML [Chica...
                            
                         
                    
                        - 
                            
                            
英文版
                            4-Channel Motor Driver IC
                            CERAMATE
                            
                         
                    
                        - 
                            
                            
英文版
                            4-Channel Motor Driver IC
                            CERAMATE [...
                            
                         
                    
                        - 
                            
                            
英文版
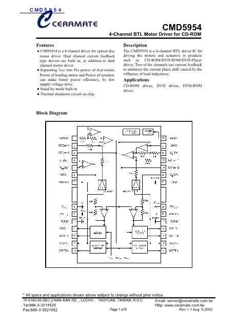
                            4-Channel BTL Motor Driver for CD-ROM
                            CERAMATE
                            
                         
                    
                        - 
                            
                            
英文版
                            4-Channel BTL Motor Driver for CD-ROM
                            CERAMATE [...
                            
                         
                    
                        - 
                            
                            
英文版
                            POWER INDUCTORS 
                            SUMIDA [Su...